Product Summary
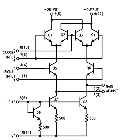
The lm1496m is a doubled balanced modulator-demodulator which produces an output voltage proportional to the product of an input (signal) voltage and a switching (carrier) signal. Typical applications of the lm1496m include suppressed carrier modulation, amplitude modulation, synchronous detection, FM or PM detection, broadband frequency doubling and chopping. The LM1496M is specified for operation over the 0℃ to +70℃.
Parametrics
lm1496m absolute maxing ratings: (1)Internal Power Dissipation: 500mW; (2)Applied Voltage: 30V; (3)Differential Input Signal (V7 b V8): ±5.0V; (4)Differential Input Signal (V4 b V1): ±(5+I5R0)V; (5)Input Signal (V2 b V1, V3bV4): 5.0V; (6)Bias Current (I5): 12mA; (7)Operating Temperature Range: 0℃ to +70℃; (8)Storage Temperature Range: -65℃ to +150℃; (9)Soldering Information: Dual-In-Line Package Soldering (10 seconds): 260℃; Small Outline Package Vapor Phase (60 seconds): 215℃; Infrared (15 seconds) 220℃.
Features
lm1496m features: (1)Excellent carrier suppression: 65 dB typical at 0.5 MHz; 50 dB typical at 10 MHz; (2)Adjustable gain and signal handling; (3)Fully balanced inputs and outputs; (4)Low offset and drift; (5)Wide frequency response up to 100 MHz.
Diagrams

![]() |
![]() LM140 |
![]() Other |
![]() |
![]() Data Sheet |
![]() Negotiable |
|
||||||||||
![]() |
![]() LM140JAN |
![]() Other |
![]() |
![]() Data Sheet |
![]() Negotiable |
|
||||||||||
![]() |
![]() LM140K-12 |
![]() National Semiconductor (TI) |
![]() Linear Regulators - Standard |
![]() Data Sheet |
![]()
|
|
||||||||||
![]() |
![]() LM140K-12/NOPB |
![]() National Semiconductor (TI) |
![]() Linear Regulators - Standard |
![]() Data Sheet |
![]()
|
|
||||||||||
![]() |
![]() LM140K-15 |
![]() National Semiconductor (TI) |
![]() Linear Regulators - Standard |
![]() Data Sheet |
![]()
|
|
||||||||||
![]() |
![]() LM140K-15/NOPB |
![]() National Semiconductor (TI) |
![]() Linear Regulators - Standard |
![]() Data Sheet |
![]()
|
|
||||||||||
(China (Mainland))









